Ремонт звуковых катушек электродинамических головок
- Подробности
 - Категория: Акустические системы
 - Опубликовано: 20.03.2017 10:13
 - Просмотров: 3310
 
Анатолий Журенков г. Запорожье
 В статье описана методика ремонта звуковых катушек электродинамических головок компрессионного типа без снятия диффузора и центрирующей шайбы, даны рекомендации по изготовлению приспособлений для выполнения этих работ, что существенно упрощает ремонт электродинамических головок, практически исключает повреждение диффузоров и центрирующих шайб, не требует отпайки гибких выводов звуковых катушек.
 
 В последние годы, благодаря разработке целого ряда интегральных микросхем для УМЗЧ, изготовление усилителя с большой выходной мощностью стало доступным даже начинающим радиолюбителям. При этом для воспроизведения низших звуковых частот акустическими системами (АС) радиолюбители в основном используют электродинамические головки старых типов отечественного производства 6ГД-2, 10ГДН-1 (6ГД-6), 25ГДН-1 (10ГД-34), 35ГДН-1 (25ГД-26), 75ГДН-6 (З0ГД-6) и аналогичные, так как современные головки очень дорогие. Тем не менее, грамотно сконструированные АС на отечественных головках позволяют получить высокое качество воспроизведения звуковых сигналов в широком диапазоне звуковых частот категории Hi-Fi. Самым важным и энергоемким звеном в АС являются низкочастотные головки компрессионного типа. В настоящее время эти головки являются дефицитом и приобретаются на радиорынках или у радиолюбителей, имеющих излишек таких головок. Естественно, приобретенные головки могут иметь дефекты.
 Отсутствие обрыва электрической цепи при «прозвонке» выводов головки и перемещение звуковой катушки без заеданий при нажатии на диффузор не гарантируют отсутствие дефектов. Дело в том, что звуковые катушки могут иметь межвитковые короткие замыкания, которые тестером не определишь, частичное «подгорание» провода обмотки, нарушающее прочность ее клея, и т.п. Все это скажется либо в начале эксплуатации, либо через короткое время, даже при подведении к головке номинальной мощности.
 Дефекты головок в нормально работающих АС могут возникнуть по причинам нарушения технологии производства изготовителями, сокращающими их срок эксплуатации, или при перегрузке работающих АС мощными УМЗЧ, что часто встречается в радиолюбительской практике. В этом случае провод катушки, нагреваясь, расширяется и разрушает клей. При хранении и установке головок в ящики АС необходимо иметь в виду, что через центрирующие шайбы из сетчатого материла в воздушные зазоры магнитных систем могут попадать металлические опилки и пыль. Это вначале приводит к искажениям воспроизводимых звуковых сигналов, а за тем - к повреждению звуковых катушек.
 Если головки АС оснащены защитными сетками или радиотканью, то в основном выходят из строя по вышеуказанным причинам звуковые катушки и их гибкие выводы. Для ремонта таких головок в первую очередь необходимо проверить тестером наличие электрической цепи на выводах головки. Если цепь оборвана, надо проверить наличие ее на выводах обмотки звуковой катушки в местах пайки ее выводов к гибким выводам на диффузоре. Наличие цепи катушки свидетельствует о повреждении минимум одного из гибких выводов. В этом случае желательно заменить оба вывода аналогичными или использовать для этой цели оплетки тонких экранированных проводов. Эта операция обычно выполняется без разборки динамической головки. Описанные в литературе и Интернет методики перемотки звуковых катушек требуют снятия диффузора и центрирующей шайбы, что не так просто и требует специальных растворителей, опыта, вытяжки воздуха и т.п. [3]. Эта операция может привести к повреждению диффузора или центрирующей шайбы [1].
 Устройство электродинамической головки показано на рис.1, а конструктивные особенности приведены в [2].
  
 Некоторые авторы статей центрирующую шайбу ошибочно называют гофром [1]. Гофр - это бумажный гофрированный подвес диффузора, а центрирующие шайбы есть гофрированные и плоские (паучковые), штампованные из тонкого текстолита. «Гибкость гофров всегда больше, чем гибкость центрирующей шайбы» [3, с. 19]. В настоящее время для подвесов диффузоров применяют резину, резиновые смеси, полиуретан и много других цельных и пористых вспененных материалов [4]. Это желательно знать, чтобы грамотно применять другие рекомендации, приведенные в литературе и статьях.
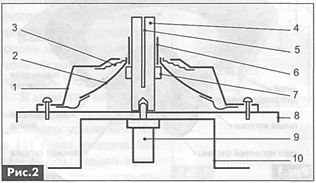
 Радиолюбителям предлагается методика перемотки поврежденных звуковых катушек без снятия диффузора и центрирующей шайбы, примененная автором при ремонте динамических головок типов 10ГД-34 и 25ГД-26, но эта методика может быть использована и при ремонте других типов головок. Для этого необходимо изготовить приспособление, конструкция которого показана схематически на рис.2.
  
  Приспособление состоит из диска 8 с подшипником 9 от проигрывателя грампластинок, который закреплен на опорной металлической подставке 10. По центру диска устанавливается цилиндрическая оправка 4, диаметр которой равен внутреннему диаметру каркаса (гильзы) звуковой катушки 6. Для облегчения съема звуковой катушки после намотки в оправке сделан продольный пропил (щель) 5. Ограничитель 7 выполняется из изоляционной ленты по месту при установке головки для намотки катушки. На рис.2 также обозначены детали головки: диффузородержатель 1, диффузор 2 и центрирующая шайба 3.
 Для подготовки головки к ремонту звуковой катушки необходимо в крепежных отверстиях диффузородержателя закрепить четыре винта М5 длиной 40 мм, выполняющих функцию ножек. Поставить головку ножками на ровную поверхность стола. Магнитная система при этом будет вверху. Подать диффузор вниз так, чтобы звуковая катушка полностью вышла из магнитного зазора, и зафиксировать его в этом положении двумя свертками ткани, проложив их диаметрально противоположно между диффузором и диффузородержателем. Детали диффузора не должны касаться стола. Снять магнитную систему, выкрутив крепежные винты. Если магнитная система приклеена, то необходимо торец стальной полоски шириной 20 мм и толщиной 2 мм остро заточить и по кругу постепенно забивать в место стыка магнитной системы с диффузородержателем до ее отслоения. Перед этим желательно пометить карандашом ее место и ориентацию относительно диффузородержател я. После снятия магнитной системы головку переворачивают и ножом с остро заточенным полукруглым концом осторожно отслаивают и снимают колпачок, закрывающий звуковую катушку.
 Головку также освобождают от ранее установленных свертков ткани и от ножек из винтов. Затем отпаивают выводы обмоточного провода катушки, отклеивают их от диффузора и обрезают у входа в звуковую катушку. После этого головка готова к установке на приспособление и к ремонту звуковой катушки.
 На диск проигрывателя устанавливают оправку и головку, как показано на рис.2. Визуально определяют, на сколько нужно поднять катушку, чтобы все ее витки оказались доступными для перемотки. На выступающей части оправки делают метку карандашом и намечают центры крепежных отверстий диффузородержателя на диске. Головку снимают, на оправку наматывают ограничитель 7 из нескольких витков изоленты ПХВ, отступив от метки на длину каркаса звуковой катушки. В диске сверлят отверстия диаметром 2,5 мм и нарезают резьбу МЗ под крепежные винты. Диаметр винтов существенно меньше диаметра крепежных отверстий, что создает технологические зазоры в креплении для возможности регулировки установки головки, исключающей несоосность каркаса катушки и оправки. Под головки винтов потребуются шайбы с внешним диаметром около 10 мм. Головку снова устанавливают на диск с оправкой и определяют уровень подъема звуковой катушки. При этом ограничитель упирается в диффузор и поднимает его вместе с катушкой вверх. Если она выше или ниже метки, тогда ограничитель 7 смещается на нужное расстояние. После этих операций можно устанавливать и крепить головку для перемотки звуковой катушки. Вначале крепежные винты затягивают слегка, достигая соосности оправки и каркаса звуковой катушки, после чего винты затягивают полностью. В щель торца оправки необходимо вставить тонкий деревянный клин так, чтобы ее края разошлись не более чем на 0,1 мм.
 Вначале освобождают верхний конец катушки. Если не удается сделать это, не повредив диффузора или каркаса катушки, лучше его обрезать. После этого, вращая диск, сматывают поврежденный провод и освобождают или обрезают нижний конец катушки. В процессе размотки катушки надо подсчитать количество витков и измерить диаметр провода. Перед намоткой катушки необходимо раздать отверстия тонкой иглой для концов про-вода катушки или сделать новые рядом с остатками обрезанных концов. Для приклеивания обмоточного провода к каркасу катушки лучше всего подходит эпоксидный клей. Он прочный, термостойкий, не имеет усадки, длительное время не затвердевает, что позволяет спокойно убирать его излишки и равномерно распределять по поверхности катушки. Это удобно выполнять прямоугольником из резины 20x30 мм и толщиной 2 мм. Для приготовления клея эпоксидную смолу тщательно смешивают с отвердителем в пропорциях 5-10:1 соответственно. Для намотки катушки наносят равномерный тонкий слой клея на ее каркас, провод с запасом около 5 см продевают в отверстие и закрепляют тонкой нитью возле начала первого витка, изгибают и производят намотку первой половины витков катушки, вращая диск одной рукой и укладывая витки другой рукой.
 Намотанную часть покрывают тонким слоем клея и в обратном направлении производят намотку второй половины катушки. Конец провода изгибают напротив второго отверстия, закрепляют тонкой нитью, обрезают с запасом и вставляют в отверстие. Второй слой катушки равномерно покрывают тонким слоем клея, снимают излишки и оставляют до окончания полимеризации клея примерно на четыре часа. После этого убирают клинышек с оправки, строго вертикально снимают головку и освобождают катушку от оправки, сжимая ее концы. Выводы катушки укладывают на диффузоре, обрезают по месту, подпаивают к выходным контактам и приклеивают к диффузору. После высыхания клея магнитную систему устанавливают на свое место и центрируют относительно звуковой катушки. При этом соосность керна магнитной системы и звуковой катушки можно проверять полоской фотопленки, вставляя ее по кругу в зазор между катушкой и керном. При этой проверке крепежные винты магнитной системы слегка затягивают, так чтобы легкими ударами деревянного молотка или бруска ее можно было смещать в нужном направлении.
 После центровки звуковая катушка должна перемещаться в зазоре без затираний при симметричных нажатиях на внутреннюю и наружную части диффузора двумя руками. Теперь крепежные винты можно затянуть полностью. Не следует производить центровку звуковой катушки перемещением центрирующей шайбы, как это предлагается в [1 ]. Соосность звуковой катушки с керном магнитной системы обеспечивается центрирующей шайбой совместно с подвесом диффузора при изготовлении головки. Перемещение центрирующей шайбы без перемещения диффузора приведет к его перекосу совместно со звуковой катушкой, что исключается при центровке перемещением магнитной системы.
 Если магнитная система крепится клеем, то необходимо с нее и с диффузородержателя удалить остатки старого клея и приклеить ее на свое место эпоксидным клеем. После этого магнитную систему устанавливают наружной стороной на стальную пластину, она удерживается на ней своим магнитным полем. Центровка достигается перемещением диффузородержателя относительно магнитной системы. В процессе полимеризации клея периодически проверяют и, при необходимости, корректируют центровку катушки, так как могут быть самопроизвольные смещения. Для более надежного крепления магнитной системы можно закрепить ее механическим путем с помощью накладки 1 из дюралюминия (рис.3)
  
 И винтов из немагнитного металла. В центре накладки вырезают отверстие 4 для выступающей части керна 3 магнитной системы 2. Для крепежных винтов в диффузородержателе сверлят отверстия и нарезают резьбу. После окончания этих операций к диффузору приклеивают защитный колпачок - и головка готова к эксплуатации.
 Для изготовления приспособления (рис.2) желательно использовать силуминовый диск проигрывателя большого диаметра. Если имеется только диск малого диаметра, то на нем можно закрепить круг или квадрат нужного размера из фанеры толщиной не менее 8 мм. В этом случае диффузородержатель головки можно крепить шурупами. Если нет старого проигрывателя, то для этой же цели можно использовать маховик с подшипником от катушечного магнитофона, конструкция которого показана на рис.4,
  
  или аналогичный маховик. Для удобства в работе приспособление рекомендуется крепить к рабочему столу струбциной и предусмотреть тормоз для диска, например, в виде тяжелого предмета, которым можно подпирать диск во время остановок в намотке. Можно также в средней части подшипника просверлить и нарезать резьбу под стопорный винт. Легкое подтормаживание вала диска исключит свободное вращение диска и не создаст существенного усилия при намотке.
 При первом ремонте динамической головки 25ГД-26 в качестве оправки был использован электролитический конденсатор типа К50-3 с наружным диметром 40 мм, что соответствовало внутреннему диаметру звуковой катушки. Для ремонта разных головок можно изготовить универсальное приспособление, показанное схематически на рис.5.
  
  Его оправка состоит из основания 1, набора прокладок 2 различной толщины и набора оправок 3 с диаметрами для разных катушек и содержащих упор для ремонтируемых динамических головок. Эти детали вытачивают из дерева или фторопласта на токарном станке. Оправку из дерева необходимо пропитать машинным маслом во избежание случайного приклеивания к ней каркаса звуковой катушки. Подставки и оправки надевают на основание и подбирают под соответствующие типы головок.
 Несмотря на большое количество приведенных рекомендаций, использование их сделает ремонт звуковых катушек простым и качественным даже для радиолюбителей, которые займутся этим процессом впервые.
 РА 8'2011
 
 Литература
 1.  Зызюк А.Г. О ремонте громкоговорителей и акустических систем // Радиоаматор. - 2009. -№10.-С.12-13.
 2. Журенков А.Н. Вопросы модернизации электродинамических головок // Радиоаматор.  -2010. -№7-8.-С.12-14.
 3.  Эфрусси М.М. Громкоговорители и их применение. - М.: Энергия, 1976. - С.12-21, 130-131.
 4. Алдошина И.А. Электродинамические громкоговорители.  -  М.:  Радио и связь,   1989.  -С.173-175.

