"Антимигреневые" генераторы
- Подробности
 - Категория: медицина
 - Опубликовано: 18.02.2018 10:55
 - Просмотров: 3231
 
М.Шустов, г.Томск.
 Светотерапия (цветотерапия, хромотерапия и т.д.) давно применяется для коррекции состояния человека [1 - 6]. Так, при использовании цветных очков (где вместо простых стекол - цветные, одна половинка стекла, например, синяя, а другая красная), подбирая в зависимости от диагноза нужное цветовое сочетание, можно (конечно же, под контролем врача!), воздействовать на самочувствие человека, корректировать его настроение, лечить неврозы, невротические депрессии, психосоматические расстройства [6].
 Известно, что если мигать перед глазами лампочкой с частотой, близкой ритму головного мозга (4 - 7 Гц), или подавать на кожу головы слабые электрические разряды, можно вызвать состояние медитации (расслабления) и даже управлять состоянием человека: укреплять сон, повышать способность к обучению и т.д. [4].

 Английский нейрофизиолог Дункан Андерсон, разрабатывая очки для создания зрительных иллюзий, обнаружил, что приступы мигрени можно снять или ослабить при использовании затемненных очков для плавания со встроенными светодиодами. Изменяя режим работы (частоту вспышек 0,5 - 50 Гц, их яркость) и определяя переключателем одновременное или последовательное включение светодиодов, пациент может снять приступы мигрени [4].
 Генераторы подобного назначения несложно сделать самостоятельно. На рис.1 - 4 приведены наиболее простые варианты "антимигреневых" генераторов.


 На рис. 1 показана схема генератора световых импульсов 1 - 33 Гц, состоящая из релаксационного генератора импульсов на основе лавинного транзистора VT1 и простейшего усилителя постоянного тока на транзисторе VT2. Частота генерации определяется резистором R2 и конденсатором С1. К базе лавинного транзистора может быть присоединена напрямую или через высокоомный резистор (либо конденсатор небольшой емкости) сенсорная пластинка, прикосновение к которой вызывает изменение характера генерации. Тем самым отслеживается изменение состояния пациента и происходит автоподстройка частоты генератора.
 Генератор (рис.1) можно использовать и для индикации разряда батареи питания различных радиоэлектронных устройств: при снижении напряжения источника питания с 9,0 до 7,7 В частота генерация (переключения светодиодов VD1 и VD2) снижается. При Е < 7,7 В свето-диод VD1 гаснет; при дальнейшем понижении напряжения яркость свечения светодиода VD2 плавно снижается до полного угасания. Средний ток, потребляемый генератором,— 4-5мА.
 Недостатком генератора (рис.1) является неидентичность формы, амплитуды и
 длительности световых импульсов. Более совершенной является схема (рис.2), позволяющая коммутировать режим вспышек светодиодов VD1 и VD2 (синхронно/асинхронно).
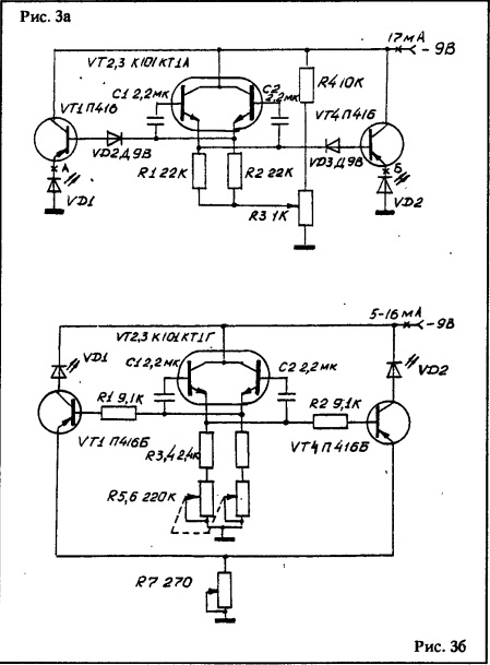
 Второй вариант схем "антимигреневых" генераторов представлен на рис.3а, б. Генераторы выполнены на основе симметричных мультивибраторов, частота генерации которых (1 - 33 Гц) определяется резистором R3 .(рис.3а) и резисторами R5, R6 (рис.3б), а яркость свечения светодиодов (рис.3б) - резистором R7. Средний ток, потребляемый генератором (рис.3а), - 17 мА, генератором (рис.3б) - 10 мА.
 На рис. 4а, б показаны схемы "антимигреневых" генераторов, работающих в том же диапазоне частот (1 - 33 Гц), выполненные на КМОП (или иных) микросхемах. Схемы позволяют получить идентичные по форме импульсы света, что с одной стороны является достоинством подобных генераторов, а с другой - их недостатком» поскольку прямоугольные импульсы, протекающего через светодиоды тока, в силу малой инерционности свечения (быстропротекающие переходные процессы), менее эффективны для получения состояния медитации. Ток, потребляемый генераторами в режиме получения асинхронных вспышек светодиода, составляет 7 - 10 мА.
 Схема генератора (рис.4б) позволяет за счет наличия сенсорных площадок, прикладываемых ко лбу пациента и подключенных параллельно высокоомному резистору, определяющему частоту генерации, отслеживать состояние пациента по изменению его электрокожного сопротивления и осуществлять автоподстройку генератора. Вариант подключения и коммутации светодиодов в рассмотренных выше генераторах показан на рис.5 (для схем на рис. 1 - 3 необходимо сменить полярность включения диодов).
 При подобном подключении можно изъять переключатели SA1. Одна пара светодиодов (например, правых по схеме) может быть зеленого цвета (успокаивающее воздействие), вторая - красного (тонизирующее воздействие). Коммутация светодиодов позволяет получить синхронный/асинхронный режим вспышек светодиодов. Конструктивно устройства могут быть выполнены в соответствии с рис.6а, б.
 Расстояние между светодиодами должно примерно соответствовать межзрачковому расстоянию пациента (58 - 68 мм). Дальнейшее развитие “антимигреневые” генераторы могут получить при использовании более "физиологичных" форм импульсов (использование синусоидальных, трапециобразных сигналов, сигналов, синтезируемых ПЭВМ по специальным алгоритмам и с использованием биологической обратной связи). Взамен светодиодов целесообразно применить более инерционные маломощные лампы накаливания со светофильтрами.
 Процесс светотерапии (конечно же, под контролем врача) возможно сочетать с другими видами физиотерапевтического воздействия (электро-, магнитостимуляция и т.д.)
 Литература.
 1. А.с. 1463309 (СССР). Светозвуковое устройство для психофизиологической релаксации. Л.Н.Мельников, А-Д.Битков, О.И.Окара. Опубл. в Б.И.1989, N9; Мед. техника, 1978, N 5, с.29 — 31.
 2. А.с. 295305 (СССР). Устройство для лечения сном. Л.Я.Рабичев и др. ,Опубл. в Б.И. 1976, N18.
 З.А.С. 330871 (СССР). Аппарат для вызывания гипнотического сна. В.М.Овчинников. Опубл. в Б.И. 1972, N 9; Изобр. и рационализатор, 1973,N6,c.l4— 15.
 4. Управление мозгом? — Наука и жизнь, 1991 ,N 4, с.20 — 21.
 5. Филин В. Анатомия взора.—Наука и жизнь, 1991, N2, с. 88—92.
 6. Пропишите цветные очки. — Медиц. газета, 29.01.92.
 

