Трансформаторы питания на витом магнитопроводе ТП-8.
- Подробности
 - Категория: Трансформаторы
 - Опубликовано: 19.11.2017 11:33
 - Просмотров: 7110
 
Предназначены для работы от сети переменного тока частотой (50±0,5) Гц и номинальным напряжением 220В с отклонением ±10% от номинального значения.
 Номинальная мощность трансформаторов 7 ВА.
 Ток холостого хода трансформаторов, не более 0,020 А.
 Неустойчив к короткому замыканию.
 Трансформаторы изготавливают на витом магнитопроводе ШЛМ 12x20.
 Габаритные размеры трансформаторов, LxBxH - 42,5x54x47 мм.
 Масса трансформаторов 0,24 кг.
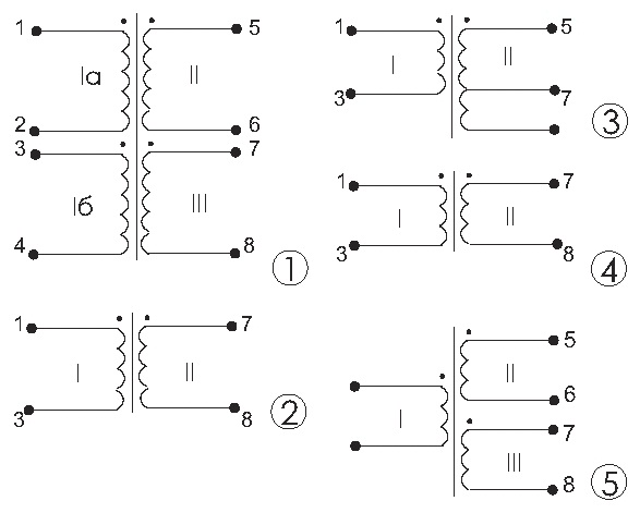
 Таблица 1. Электрические параметры трансформаторов ТП-8.
| Тип трансформатора | U вторичных обмоток, В | I вторичных обмоток, А | Номер электр. Схемы | ||
| II | III | II | III | ||
| ТП-8-3 | 13,2 | 4,75 | 0,45 | 0,16 | 1 | 
| ТП-8-5 | 9 | 0 | 0,65 | - | 2 | 
| ТП-8-6 | 15/15 | - | 0,085 | - | 3 | 
| ТП-8-8 | 11,2 | - | 0,6 | - | 4 | 
| ТП-8-9 | 26,5 | 5 | 0,12 | 0,01 | 5 | 

 Рисунок 2. Габаритные размеры трансформаторов ТП-8.
 Рисунок 3. Схемы принципиальные трансформаторов ТП-8.
 

