300 Вт усилитель для сабвуфера
- Подробности
- Категория: Сабвуферы
- Опубликовано: 22.10.2019 12:05
- Просмотров: 3442
Рассеиваемая выходными транзисторами мощность достигает очень больших значений, поэтому при их установке необходимо тщательно соблюдать меры по обеспечению хорошего теплового контакта их с радиатором. Усилитель предназначен для кратковременного режима работы на нагрузку сопротивлением 4 Ома, как обычно принято в сабвуферах. В случае длительной работы усилителя в режиме номинальной мощности необходимо нагружать усилитель на АС сопротивлением не менее 8 Ом. При этом усилитель может качественно работать длительное время и отдавать мощность около 150 Вт. Для работы в непрерывном режиме при номинальной мощности на нагрузку сопротивлением 4 Ома необходима дополнительная установка еще 4 выходных транзисторов (по 2 в каждое плечо усилителя).

В усилителе нет защиты выходных транзисторов от короткого замыкания выхода. Короткое замыкание выхода мгновенно выведет из строя выходные транзисторы.
Конструктивно усилитель размещен в корпусе сабвуфера.
Усилитель сохраняет свои рабочие характеристики при изменении напряжения источника питания не более чем на ±5 В.
Описание
Принципиальная электрическая схема усилителя приведена на рис. 1.
Усилитель выполнен по схеме, ставшей традиционной для большинства современных усилителей НЧ: с двухполярным питанием и дифференциальным каскадом на входе. Цепочка R1, С2 служит для фильтрации радиочастотных помех.
Сигнал подается на вход через неполярный конденсатор С1 емкостью 4,7 мкФ. Полное комплексное сопротивление этой емкости обеспечивает малый завал частотной характеристики на очень низких частотах. Если применить конденсатор с полистирольным или фторопластовым диэлектриком емкостью 1 мкФ, то при номинальном входном сопротивлении 22 кОм, завал на частоте 7,2 Гц будет около -3 дБ.
Дифференциальный каскад выполнен на транзисторах VT2 и VT3. Транзистор VT1 выполняет функцию источника тока. База транзистора VT3 соединена с выходом усилителя через резистор R12. Как только на выходе усилителя появится отличное от нуля постоянное напряжение, усиленный дифференциальным каскадом сигнал рассогласования поступит на последующие каскады и изменит их режим так, чтобы постоянное напряжение на выходе стало равно нулю. В случае идентичности параметров транзисторов VT2 и VT3 через нагрузку не протекает постоянный ток и, следовательно, разделительный конденсатор в цепи нагрузки можно не применять.
Низкочастотный сигнал, усиленный транзистором VT2, снимается с нагрузочного резистора R5 и подается на базу транзистора VT4.
Далее усиленный низкочастотный сигнал подается на двухтактный усилитель на транзисторах VT5...VT8. Диоды VD2 и VD3 обеспечивают начальное смещение транзисторов выходного каскада и также размещаются на радиаторе. Они должны быть в хорошем тепловом контакте с радиатором усилителя. Нарушение этого правила приведет к тому, что температурный режим выходных транзисторов выйдет из под контроля и, как следствие, выход оконечных транзисторов из строя от температурного перегрева.
В выходном каскаде применены транзисторы 2SC3856 и 2SA1492. Их можно заменить на более дешевые MJ21193/MJ21194 или 2SC3281/2SA1302 соответственно. В качестве светодиода VD1 (рис. 1) можно использовать любой маломощный, зеленого свечения. Резисторы R10, R11 и R22 пленочные мощностью 1 Вт, R16...R21 проволочные мощностью не менее 5 Вт, остальные пленочные - 0,25 Вт. Поскольку выходной каскад работает в режиме класса В, усилитель имеет повышенные искажения в области высоких частот.
Глубокая ООС в области низких частот позволяет получить искажения на частоте 1 кГц около 0,04%.
При выходной мощности 250 Вт пиковые значения мощности при переходных процессах могут достигать более 300 Вт. При применении в блоке питания мощного трансформатора и больших номиналов емкостей фильтра можно обеспечить устойчивую работу усилителя при выходной мощности до 350 Вт. В этом случае выходной каскад нужно собрать по схеме, приведенной на рис. 2, добавив 4 мощных транзистора VT13...VT16 и низкоомные резисторы R23...R26.

Несмотря на широкую полосу пропускания усилителя, искажения на частотах выше 10 кГц значительны.
При измерении пиковой мощности напряжение источника питания "проваливалось" с 56 В до 50,7 В при нагрузке 8 Ом и до 47.5 В при нагрузке 4 Ома.
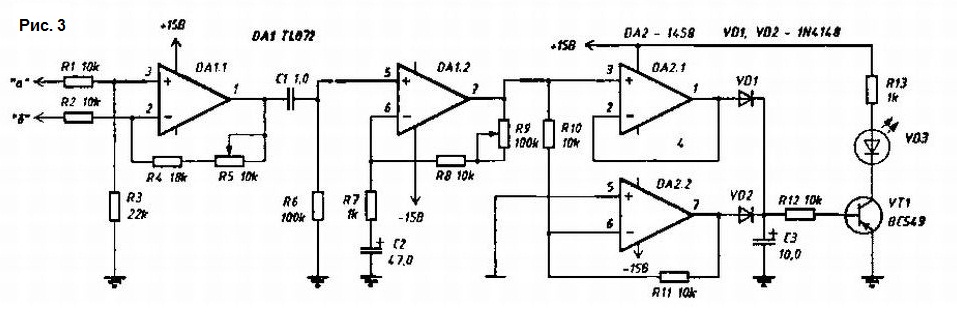
На рис. 3 приведена схема пикового индикатора перегрузки.

Лабораторные измерения параметров усилителя показали следующие результаты, приведенные ниже.
• Выходная мощность, Вт пpи RH = 4 Ом......240
• Пиковая мощность, Вт при Тимп = 5 мс......185
• при Тимп = 10 мс......172
• Номинальное входное напряжение, В......1,3
• Уровень собственных шумов, дБВ......63
• Отношение сигнал/шум, дБ......92
• Коэффициент искажений, %......0,4
• при Рвых = 4 Вт, F = 1 кГц......0,04
• при Рвых = 4 Вт, F = 10 кГц......0,04
• Время нарастания, В/мкс......>3
• Ширина полосы пропускания, кГц......30
Индикатор перегрузки предназначен для слежения за режимом работы усилителя. Входы а и б индикатора подключены к базовым цепям дифференциального каскада усилителя. При линейном режиме работы усилителя напряжения в точках а и б равны. В случае перегрузки усилителя искаженный сигнал обратной связи поступающий на базу транзистора VT3 дифференциального каскада, будет отличаться от входного сигнала и на выводе 1 микросхемы DA1.1 появится напряжение ошибки, которое усиливается усилителем на DA1.2 и поступает на пиковый детектор DA2.1...DA2.2. Индикатором перегрузки является светодиод VD3 - красного цвета, включенный в коллекторную цепь транзисторного ключа VT1. Время свечения светодиода в случае появления даже кратковременного сигнала ошибки определяется постоянной времени цепочки C3R12. Регулировка индикатора заключается в установке движков потенциометров R5 и R9 в положение, при котором свечение светодиода VD3 наступает при наличии нелинейных искажений выходного сигнала.
Блок питания
Схема блока питания приведена на рис. 4. Трансформатор необходимо использовать с мощностью не менее 400 Вт и выходным напряжением 2 х 40 В.

Конденсатор С1 должен быть рассчитан на напряжение не менее 240 В, мостовые выпрямители - на ток 35 А, конденсаторы фильтра - на рабочее напряжение не менее 63 В, емкость конденсатора фильтров - 4700...10000 мкФ.
Автор: ELLIOTT SOUND PRODUCTS, P.O. Box 233, Thornleigh NSW 2120, Australia
100 Вт сабвуфер усилитель.
Усилитель 300 Вт для сабвуфера
Сабвуфер для ПК


